Прямые поставки, Торги 44-ФЗ, 223-ФЗ, 275-ФЗ, разные формы оплат: 30%|70%, 50%|50%, 100% постоплата- Производитель: Экотехсервис
- Код товара: 12348
- Доступность: В наличии (Срок отгрузки: 20-30 дней)
- Оптовая цена: по запросу
-
Розничная цена:
8 000₽
- С учетом НДС
- Цена может отличаться, уточняйте у менеджеров
Прямые поставки, Торги 44-ФЗ, 223-ФЗ, 275-ФЗ, разные формы оплат: 30%|70%, 50%|50%, 100% постоплатаУстройство крепления пробоотборных зондов ПЗ ВЗ «Атмосфера»
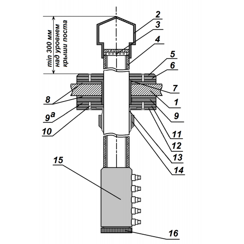
Устройство крепления УК ПЗ ВЗ — конструктивный элемент, обеспечивающий надёжную фиксацию пробоотборных зондов серии «Атмосфера» на крышах стационарных и мобильных объектов мониторинга. Изделие совместимо со всеми моделями и модификациями зондов ПЗ ВЗ «Атмосфера» и рассчитано на эксплуатацию во всех климатических зонах Российской Федерации. Производитель — Экотехсервис.
Устройство монтируется в кровельное отверстие диаметром ~33 мм и фиксирует зонд строго перпендикулярно поверхности крыши с возможностью выдвижения на высоту не менее 0,3 м согласно РД 52.04.186-89 — это позволяет применять его как в постах наблюдения сети Росгидромета, так и на автоматических станциях вспомогательного оборудования для отбора проб сторонних организаций.
Преимущества
- Универсальная совместимость с кровлями разной толщины — установочный патрубок выпускается в диапазоне высот от ~50 до 200 мм, что позволяет монтировать УК без переделки кровельной панели поста или передвижной лаборатории.
- Герметизация при демонтаже зонда — в комплект включена специальная глухая прокладка, перекрывающая монтажное отверстие во время профилактических работ и устранения неполадок, исключая попадание осадков внутрь помещения.
- Лёгкий и коррозионностойкий корпус — все детали из сплава Д16Т имеют гальваническое защитное покрытие, что обеспечивает долговечность конструкции при длительном уличном использовании.
- Единая система пробоподготовки — УК в сборе с зондом ПЗ ВЗ «Атмосфера», оснащённым защитным колпаком, образует законченный узел, пригодный для контроля качества воздуха в санитарно-защитных и жилых зонах.
- Стандартизированные посадочные размеры — наружный и внутренний диаметры патрубка, а также крепёжные отверстия совпадают с сопрягаемыми деталями всего модельного ряда зондов «Атмосфера», упрощая замену и обслуживание.
Применение
Устройство крепления устанавливается на крышах стационарных постов наблюдения (ПНЗ) и передвижных лабораторий с толщиной кровли от ~30 до 200 мм. В составе оборудования для пробоподготовки УК применяется для мониторинга загрязнения атмосферы на объектах Росгидромета и независимых организаций.
Технические характеристики
| Параметр | Значение |
|---|---|
| Диапазон высоты установочного патрубка | от ~50 до 200 мм |
| Толщина кровли (допустимая) | от ~30 до 200 мм |
| Диаметр монтажного отверстия в кровле | ~33 мм |
| Наружный (наибольший) диаметр изделия | 75 мм |
| Наружный (посадочный) диаметр патрубка | ~33 мм |
| Внутренний диаметр патрубка (для ввода зонда) | ~25 мм |
| Наружный диаметр гайки-фиксатора и гайки крепления цанги | 75 мм |
| Наружный диаметр прокладок | 75 мм |
| Минимальная высота выдвижения зонда над уровнем кровли | не менее 0,3 м |
| Масса | не более 1,0 кг |
| Основной материал | алюминиевый сплав Д16Т |
| Защитное покрытие | гальваническое антикоррозийное |
| Нормативный документ | РД 52.04.186-89 |
Комплектация
- патрубок установочный (поз. 1 – 1 шт.)
- прокладка резиновая с диаметром внутреннего отверстия ~25 мм (поз. 2 – 1 шт.)
- прокладка резиновая с диаметром внутреннего отверстия ~33 мм (поз. 3 – 2 шт.)
- гайка-фиксатор УК (поз. 4 – 1 шт.)
- гайка крепления цанги ПЗ ВЗ (поз. 5 – 1 шт.)
- прокладка резиновая без внутреннего отверстия по центру (поз. 6 – 1 шт.)
- крепёж — винты М6 (DIN 7985-полукруг или DIN 84-цилиндр) — 8 шт.





















